Используя этот сайт вы соглашаетесь на использование Cookie
Тройники
Назначение
Тройники предназначены для соединения технологических трубопроводов и аппаратов, отборных устройств давления и принадлежностей к ним.
Схема условного обозначения тройников
| 1 | 2 | 3 | |||
| Тройник | ТП | - | 14 | - | А |
Тройник приварной (ТП), диаметр присоединяемой трубы 14 мм, из стали 20 (А).
| 1 | 2 | 3 | |||
| Тройник | ТР | - | R1/2 | - | 347Н |
Тройник резьбовой (ТР), монтажная резьба R1/2 мм, из стали 347H.
| Параметры | Возможные значения | |
| 1 | Тип тройника | ТП - тройник приварной «внахлест»; ТПС - тройник приварной «встык»; ТР - тройник резьбовой. |
| 2 | Присоединительный размер | d - присоединительный диаметр тройника (см. конструктивные исполнения тройников); М - присоединительная резьба тройника (см. конструктивные исполнения тройников). |
| 3 | Материал тройника | В стандартном исполнении тройники изготавливаются из сортового проката без термической обработки; A - штуцер изготавливается из стали 20 (рабочая температура: -20...+425°C); Б - штуцер изготавливается из стали 12Х18Н10T (рабочая температура: -253... +610°C); В - штуцер изготавливается из стали 09Г2С (рабочая температура: -20... +475°C); Г - штуцер изготавливается из стали 09Г2С-12 (рабочая температура: -40... +475°C); Марка материала - материал указывается заказчиком. |
| 4 | Дополнительные опции (указываются в скобках после условного обозначения) | МКК - материал тройника должен быть устойчив к межкристаллитной коррозии; H2S - материал тройника должен быть устойчив к сероводороду; O2 - обезжиривание (кислородное исполнение); TO - материал тройника должен быть в термообработанном состоянии. |
Техническая документация, прилагаемая к продукции, включает в себя:
- паспорт (1 экземпляр на партию).
По требованию заказчика (в соответствии с договором поставки) может дополнительно предоставляться: чертёж общего вида; руководство по эксплуатации; сертификаты на используемые материалы и т.п.
| Схема исполнения | D, мм | М, дюйм | Рn, МПа |
| 1 | 2 | 3 | - |
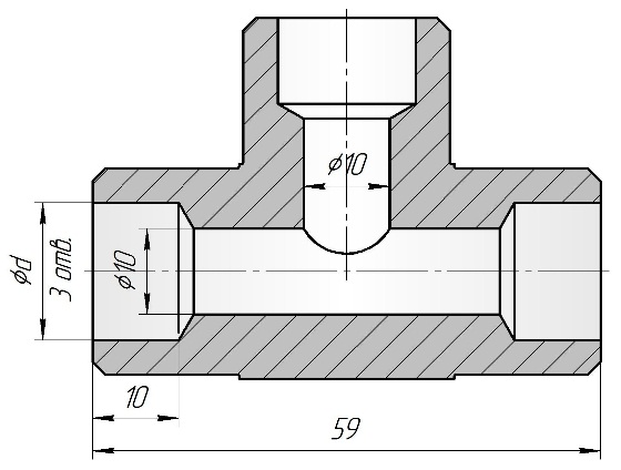
![]() Тройник ТП - d - S |
12 14 16 |
- | 16 |
![]() Тройник ТПС - d - S |
12 14 16 |
- | |
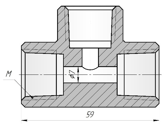
![]() Тройник TP - M - S |
R1/2 K1/2 1/2NPT |


