Ваш регион
Пн - Пт c 8:15 до 16:45

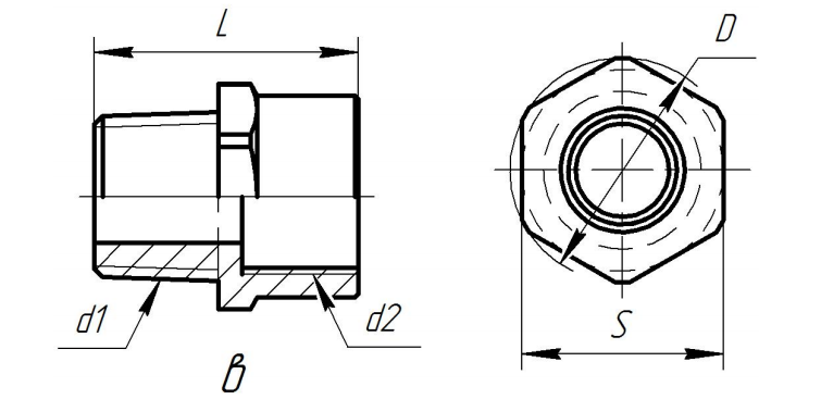
Переходники

Пример записи условного обозначения

1 2 3 4 5 6 7
Переходник МП Exdb IIC 50 d1 d2 HK

 

Параметры Возможные значения
1 Обозначение типа (модификация) МП
2 Взрывозащита Ex db, Exe – (газовые среды)
Extb – (пылевые среды)
3 Группа взрывозащищенного оборудования IIA, IIB, IIС, IIIA, IIIB, IIIС
4 Диапазон температур эксплуатации -50…+85 ℃ (полиамид)
-60…+ 125 ℃
5 Присоединительная резьба, d1 см. конструктивные исполнения резьбовых переходников
6 Присоединительная резьба, d2 см. конструктивные исполнения резьбовых переходников
7 Материал кабельного ввода Н-нержавеющая сталь, Л- латунь, 
НК – никелированная латунь, П-полиамид.


Примечание:
Для исполнений без взрывозащиты значения параметров 2, 3, 4 не указываются.
 

Конструктивные исполнения резьбовых переходников d1, мм d1, мм






M16x1,5-6g
M20x1,5-6g
M25x1,5-6g
M20x1,5-6H
M25x1,5-6H
M32x1,5-6H
Допускается применение резьб согласованных с заказчиком